LocateBike
Mobile App
Responsibilities included:
User research
Wireframing
Prototyping
User flow design
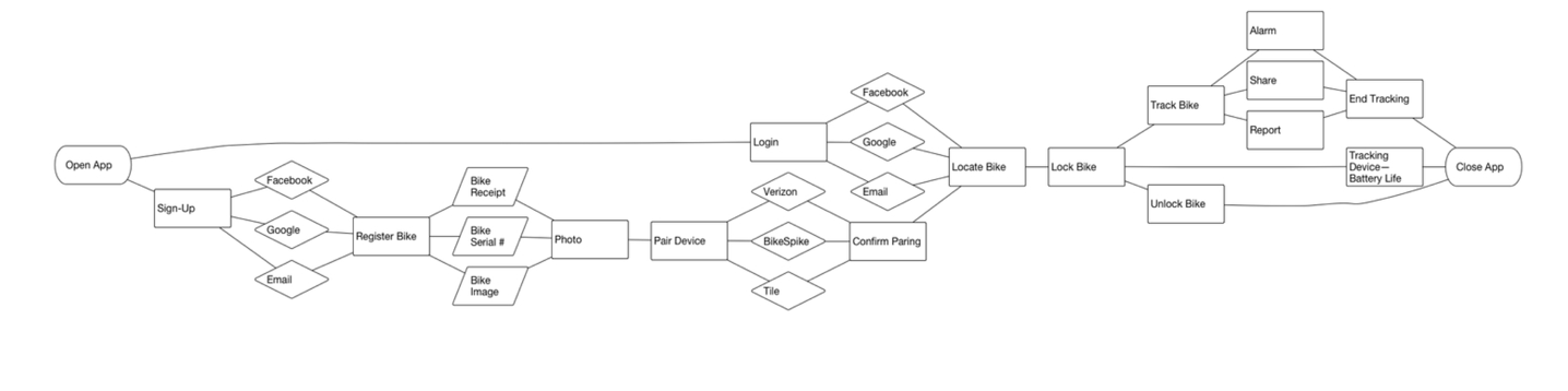
LocateBike is a mobile application designed to help bike owners track and recover stolen bicycles. Even when users park their bikes in safe locations and use strong locks, bike theft remains common. Once a bike is stolen, recovery becomes extremely difficult if owners have not stored identifying details such as serial numbers or photos.
My Role
Overview
1 Designer
1 Product Manager
2 Developers
Team
Research & Discovery
User Persona
Marie commutes to class every day using her bike. She always locks it properly and parks in safe locations.
However, she constantly worries about bike theft.


Pain Points
Fear of losing her bike
No easy way to track it if stolen
Difficult process to report stolen bikes
No central place to store bike information
Needs
Secure bike registration
Real-time tracking
Fast reporting system
Peace of mind
Research Insights
Market research revealed that police departments often recover stolen bikes but cannot return them because owners cannot be identified.
Key insights:
Serial numbers are the primary way to identify bikes
Many cyclists do not record this information
Photo documentation significantly improves identification
Police databases rarely connect with owners
This research highlighted the importance of bike registration and identification.


Design Strategy
The product strategy focused on two areas:
Prevention
Helping users protect their bikes before theft occurs.
Recovery
Helping users locate and report bikes if theft occurs.
The solution integrates:
Bike registration
Location tracking
Theft reporting
Identification storage


Ideate and Create


Wireframes
Low-Fidelity
I created low-fidelity sketches to explore the core functionality and layout of the app.
The goal was to quickly test:
Navigation clarity
Registration process
Tracking interactions
Reporting workflow
User testing helped identify which features were intuitive and which required simplification.


High-Fidelity Designs
After testing the wireframes, I developed high-fidelity mockups that refined the interface and visual design.
Key screens included:
Bike registration
Bike tracking
Map-based bike location
Theft reporting interface
These designs focused on clear navigation, quick actions, and simple tracking interactions.








The LocateBike app provides a structured system for bike owners to register, track, and recover stolen bikes.
Impact
Simplifies bike identification
Improves recovery chances
Helps police identify bike owners
Reduces user anxiety about theft
Outcome
This project reinforced the importance of:
Researching real-world recovery processes
Designing preventative and reactive solutions
Testing early wireframes with users
Building flows that support real-life emergencies